Система ОВКВ 16 нм управление включением/выключением привод воздушного демпфера


Поделиться:

Цена:27,68 $ - 34,60 $*
Стоимость в USD (на сегодня):Узнать

Количество:

Описание и отзывы

Характеристики


oduct Description


Technical Specification


 












































































Item S6061-16DN(F)/24V S6061-16DN(F)/230V
 

Torque


  

  16Nm


 

Damper Area


  

4m2


 

Running Time


  

72~88S


 

Power Supply


 

AC/DC24V  50/60Hz


 

AC230V 50/60Hz


 

Operating Power Consumption


 3.9W 4.8W
 

Control Signal


  

2/3 poin


Weight1.2 Kg
 

Angle of Rotation


  

   0~90°(Max 93º)



Auxiliary Switch Rating


  

3(1.5)Amp 250V



Life Cycle


  

>70000 cycles



Noise Level


  

Max 45dB



IP Protection


  

IP54



Temperature


  

-20~+50



Humidity


  

5~95%RH



Storage Temperature


  

-40~+70


 

Certificate


  

CE & UL



 


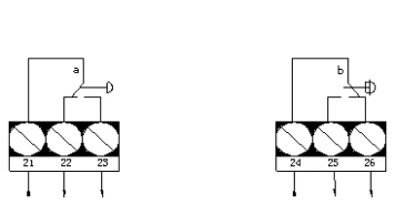
    Wiring Diagram:                                                                                 Auxiliary switch


                                                                          


                                


Changing direction of rotation :


 



 


 


Auxiliary switch adjustment:


 



 


Angle-of-rotation limiting :                                   Releasing the adapter:


                                                             


 


                


       Outline Size:


 


50.png




Company Information


 





workshop


 





Certifications


 





FAQ


 





Contact Us


_07.png 





Новинки - Розница

0.0496 s.