Высококачественный механический и прочный манипулятор для дверей


Поделиться:

Цена:3 978 368,49 ₽*
Стоимость в USD (на сегодня):Узнать

Количество:

Описание и отзывы

Характеристики

Описание продукта:

Высококачественный механический и долговечный манипулятор для дверей и окон

Описание продукта:

Это оборудование подходит для тестирования различных механических свойств и сопротивления усталости

Дверей и окон. ЭтоШироко используется в строительстве боковых навесных дверей и окон,

Раздвижные двери и окна, верхние висящие, средние висящие, нижниеПодвешивается, подвешивается сбоку и снизу

Окон. Применимые элементы тестирования включают: блокирующее устройство (ручка) переключающее усилие,

ОкноПереключения силы, Висячие концы грузоподъемность, деформации или деформации изгиба, скручивания,

Диагональная деформация, опорный блок, ограничитель открытия, энергичное закрытие, повторное

Производительность открытия и закрытия (с переключением ручки). Это идеальное тестирование

Оборудование для Отдела контроля качества, строительных инспекций, дверей и окон

И пяти производственных предприятий.

Существует два типа манипулятора: серводвигатель.

Манипулятор модернизирован. Его преимущества: 1, уменьшить количество экспериментов

Расходные материалы; 2, манипулятор принимает

Бионический дизайн, может проводить специальные эксперименты, чтобы удовлетворить потребности темы исследования.

Исполнительный стандарт:

GB / T 29739-2013 метод тестирования для повторного открытия и закрытия долговечности дверей и

Windows

GB / T 9158-2015 метод тестирования механических свойств строительных дверей и окон

Технические параметры:

1. Максимальное испытательное усилие

500N

2. Точность силы испытания

± 1%

3. Точность индикации силы испытания

0.1N

4. Диапазон измерения деформации

0 ~ 50 мм

5. Ход повторного открытия и закрытия устройства

900 мм

6. Повторное открытие и закрытие

Установить случайным образом в течение 100000 раз и автоматически остановить

7. Скорость открытия и закрытия створчатого окна

0-20 раз/мин

8. Скорость открытия и закрытия раздвижных окон

15 м/мин

9. Максимальный ход цилиндра

900 мм

10. Угол открытия створки двери или окна

90 ° ± 3 °

11. Максимальный размер тестебля образца

2500 × 2500 мм

12. Габаритные размеры

Ширина 2800 × высота 3000 × толщина 1800 мм

13. Вес

600 кг

14. Напряжение питания

220V ± 10% 3kw

15. Рабочая среда

10-35 ℃; Относительная влажность не более 80%

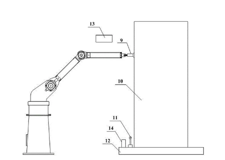
Состав оборудования:

Оборудование состоит из четырех частей: блок управления, монтажная рама для дверей и окон,

Деформации единица измерения иПовторное открытие и закрытие блока исполнения.

1. Блок управления:

Функция блока управления заключается в том, чтобы применить требуемую испытательную нагрузку к дверям и окнам,

Отправьте контрольный сигналПовторное открытие и закрытие устройства для управления его действием, и

Получение, сортировка и хранение измеренного деформационного сигналаДеформации измерительный инструмент

Устройство. Блок управления использует самые передовые технологии управления микрокомпьютером,

МодульнаяКонструкция, Стабильная и надежная система, сильная способность анти-помех.

2. Монтажная рама для дверей и окон:

Функция монтажной рамы для дверей и окон заключается в установке и фиксации двери и

Окна. Сварка по секциямСталь, с высокой прочностью и сильной стабильностью.

3. Единица измерения деформации, повторное открытие и закрытие блока:

Функция заключается в том, чтобы завершить повторное открытие и закрытие под контролем

Хост. Использование импортированных цилиндрИ пневматические компоненты, длительный срок службы, стабильный и

Прочный, уникальный дизайн устройства может завершить комплексКручение ручки,

Это уникальная технология в Китае. Двухступенчатый фильтр источника воздуха эффективно

УстраняетВодяной пар во время работы воздушного насоса и продлевает срок службы

Срок службы пневматических компонентов.

Технические характеристики:

1. Мощная функция: в дополнение к обычному механическому испытанию производительности дверей

И окна, уникальный дизайнУстройство может завершить сложное действие рукоятки кручения,

Который полностью соответствует требованиям национального стандарта, и являетсяВ настоящее время внутренние

Передовые технологии.

2. Большая жесткость всей машины: рама всей машины сварена

Секционная сталь, с высокой прочностью иСильная стабильность.

3. Сильная прочность: он принимает импортные цилиндрические и пневматические компоненты, и имеет

Двухступенчатое устройство воздушного фильтра,Что обеспечивает усталость жизни более 500000 раз.

4. Точное управление и мощная функция: он принимает самый передовой микрокомпьютер

Технология управления, модульная конструкция,Интегрирует различные режимы открытия дверей

И windows, имеет широкий спектр приложений и имеет функцииПамяти отключения питания

И автоматическое сохранение данных. После включения питания, необходимо только настроить последний тест, чтобы продолжить

ВТеста.

Door and window manipulator testerDoor and window manipulator testerDoor and window manipulator testerDoor and window manipulator tester

О нас

Door and window manipulator tester

Наше преимущество

Door and window manipulator tester

Упаковка и отгрузка

Door and window manipulator tester

Вопросы и ответы

Похожие товары

Новинки - Розница

0.0354 s.