Гидравлический шестеренчатый масляный насос ZB с электроприводом высокого давления для различных гидравлических


Поделиться:

Цена:477,70 $ - 530,80 $*
Стоимость в USD (на сегодня):Узнать

Количество:

Описание и отзывы

Характеристики



Product Description


 High Pressure Hydraulic Electric Oil Pump


zb electric OIL PUMP  1.png


This pump is the reinforcement tensile power and control part, is the use of rated oil pressure within 50-60mpa of various types of jacks power equipment. Can also be used in other types of low flow, high pressure hydraulic machinery.


 


In the case of equipped with a variety of special machines, it can realize lifting, bending, straightening, extrusion, scissors, riveting, disassembly, press-assembly and other work requirements as hydraulic power parts, but also can be installed in other mechanical equipment. It has the characteristics of small volume, light weight, simple structure, convenient operation and high working pressure.


zb electric OIL PUMP  2.png


Hydraulic System Chart.jpgPump Structure.jpg


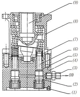
(1)Screw Plug  (2)Distributing  (3)Nozzle  (4)Lower Part  (5)Plunger Sleeve  (6)Plunger   (7)Return Spring  (8)Upper Part  (9)Axis  (10)Out-Put Port


Control Valve Structure.jpg


1.Unload Valve Socket Assembly  2.Throttle Valve Socket Assembly  3.One-Way Valve Assembly  4.Steel Ball  5.Connector Of Pressure Meter  6.Output Nozle  7.Control Valve Body 1  8.Intake Nozzle  9.Control Valve Body 2  10.Relief Valve Assembly  11.Oil-Return Nozzle


Model Parameters


































































Type



 


Nom.


Pressure


 


 


MPa  



 


Nom.


Flow


 


 


L/Min



 


Power


 


 


 


KW



 


Cylinder 


capacity


 


 


L



 


Frequency


 


 


 


HZ



 


Weight


 


 


 


KG



 


Size


 


 


 


MM


ZB10-800H8010x107.5120502701090*590*1120
ZB6-600 

60


6x65.5120502701090*590*1120 
ZB4-600H504x444050120745*494*1052
ZB4-500502x234050130745*494*1052
ZB2-500502x21.5255066660*460*260

 


zb electric OIL PUMP  3.png





Company Information


 6-1


7.jpg


7


 





Packaging & Shipping


6.png





Новинки - Розница

0.0342 s.