- Главная
- Все Категории
- Plugs & Sockets
- Новый PJ-1841 IP67 аудио Jack 6 pin погружения Pcb панель Женский наушники с разъемом типа jack по ограничению на использование опасных материалов
Новый PJ-1841 IP67 аудио Jack 6 pin погружения Pcb панель Женский наушники с разъемом типа jack по ограничению на использование опасных материалов
Цена:*
Стоимость в USD (на сегодня):Узнать
Описание и отзывы
Характеристики



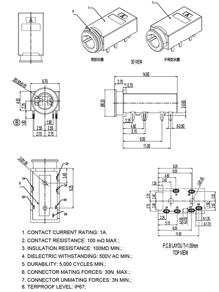
product name |
headphone socket |
Product number |
PJ-1841 |
Certification |
ROHS |
contact current rating |
1A |
contact resistance |
100 mΩ Max |
Insulation resistance |
100 MΩ Min |
dielectric withstanding |
500V AC for 1Min |
durability |
5000 cycles min |
Insertion force |
3-30N |
waterproof level |
IP67 |


















